Texas Instruments TPS7A3401 Negative Voltage Regulator
Texas Instruments TPS7A3401 Negative Voltage Regulator

 Produktliste ansehen

Zusätzliche Ressourcen

TI TPS7A3401 Negativ-Spannungsregler

Texas Instruments TPS7A3401 Negativ-Spannungsregler ist ein negativer, rauscharmer linearer Hochspannungsregler (-20V), der eine Höchstlast von 200mA versorgen kann. TI TPS7A3401 Negativ-Spannungsregler beinhaltet eine CMOS Logiklevel-kompatible Enable-Pin. Weitere erhältliche Merkmale sind eingebaute Strombegrenzung und Überhitzungsschutz zum Schutz für Gerät und System bei auftretenden fehlerhaften Zuständen. TI TPS7A3401 wurde mit bipolarer Technologie designed und ist ideal für Instrumentationsanwendungen, in denen Schienen mit sauberer Spannung von kritischer Bedeutung für eine verbesserte Systemleistung sind. Dieses Design macht den linearen Regler zu einer kostengünstigen Alternative zu Power Op Amps, analog-to-digital Wandlern, digital-to-analog Wandlern und anderen analogen Schaltungen. Der TPS7A3401 ist außerdem für kostengünstige Post-DC-DC-Wandlerregulierung geeignet.

TPS7A3401EVM-042 ist ein Evaluierungsmodul und Referenzdesign für Negativ-Spannungs-, DC/DC-Regler mit niedrigem Dropout und regulierbarer Ausgangsspannung für Lasten von bis zu 200mA.


Features
  • Eingangsspannungsbereich: -3V bis -20V
  • Rauschen:
    • 80 µVRMS (10Hz bis 100kHz)
  • Störspannungsunterdrückung:
    • 50 dB (1kHz)
    • ≥ 27 dB (10Hz bis 1MHz)
  • Regulierbarer Ausgang: ~ -1.18 V bis -18V
  • Max. Ausgangsstrom: 200mA
  • Dropout-Spannung: 500 mV bei 100mA
  • Stabil mit Keramikkondensatoren ≥ 2.2µF
  • CMOS Logiklevel-kompatible Enable-Pin
  • Eingebaute festgelegte Strombegrenzung und Überhitzungsschutz
  • Hohe Wärmeleistung in MSOP-8 PowerPAD-Gehäuse
  • Betriebstempaturbereich: -40°C bis +125°C
Anwendungen
  • Kostengünstige Versorgungsschienen für Op Amps, DACs, ADCs und andere hochexakte analoge Schaltkreise
  • Kostengünstige Post-DC/DC-Wandlerregulierung und Welligkeitsfilter

Typ. Awendungsschaltkreis

Typical Application Circuit

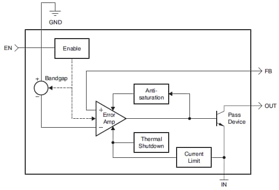
Funktionsdiagramm

Functional Diagram
  • Texas Instruments
Veröffentlichungsdatum: 2012-02-16 | Aktualisiert: 2022-03-11