Texas Instruments TPS546E25W Synchroner Abwärtswandler
Der synchrone Abwärtswandler TPS546E25W von Texas Instruments ist ein 50 A Gerät mit einphasigem PmBus-FCCM-Betrieb. Dieser Wechselrichter ist ein hochintegrierter Abwärtswandler mit D-CAP4 SteuerTopologie für schnelles Einschwingverhalten. Die programmierbaren Parameter der TPS546E25W AbwärtsWandlerkönnen über die PmBus- Schnittstelle konfiguriert und in NVM als neue Standardwerte gespeichert werden, um die Anzahl externer Bauteile zu minimieren. Die Unterstützung PmBus Schnittstelle mit 1 MHz Uhr bietet ein praktisches, standardisiertes Digitalschnittstelle für Bauform und Telemetrie der wichtigsten Parameter. Zwei, drei und vier Geräte der Baureihe TPS546E25W können miteinander verbunden werden, um an einem einzigen Ausgang bis zu 50 A bereitzustellen. Der Wandler TPS546E25W ermöglicht eine Übersteuerung des internen 4,5-V-LDO durch eine externe 5-V-Versorgung über die Pins VDRV und VCC. Dieser Abwärtswandler ist ein bleifreies Gerät und ohne Ausnahme RoHs-konform. TPS546E25W ist ideal für Server und Cloud-Computing-POLs, Hardware Beschleuniger und Netzwerkschnittstellen- Karte (NIC).Merkmale
- Eingangsspannung von 2,7 V bis 18 V mit externer Vorspannung
- Eingangsspannung von 4 V bis 18 V ohne externe Vorspannung
- Ausgangsspannungsbereich von 0,4 V bis 5,5 V
- Unterstützt 50 A einphasig (Stapelung standardmäßig deaktiviert)
- Rdson_HS = 2,6 mΩ, Rdson_LS = 1 mΩ
- Betriebsfrequenzbereich von 400 kHz bis 2 MHz (vier diskrete Einstellungen über Pin-Strap, zusätzliche Einstellungen über PMBus®)
- Programmierbar über PMBus:
- Revision 1.5 ist mit der PASSKEY-Sicherheitsfunktion kompatibel.
- Eingangsspannung, Ausgangsspannung, Ausgangsstrom und Temperaturtelemetrie
- Programmierbarer Überstrom-, Überspannungs-, Unterspannungs- und Übertemperaturschutz
- Enthält eine einzelne Befehlsschreibfunktion in einer gestapelten Bauform
- Erweiterte Schreibschutzfunktion
- Nichtflüchtiger Speicher zur Speicherung der Konfigurationseinstellungen
- Zwei Methoden zur Programmierung der Ausgangsspannung:
- Interner Widerstandsteiler (diskrete Einstellungen) mit Hochlaufspannung, die durch ein pin-strapping ausgewählt wird
- Externer Widerstandsteiler (kontinuierliche Einstellungen) mit einer von VBOOT ausgewählten Hochlaufspannung
- Präzisions- Spannungsreferenz und differenzielle Remote-Sense für hohe Ausgangsgenauigkeit:
- DAC-Genauigkeit von ±0,5 % bei einem Sperrschichttemperaturbereich von 0 °C bis 85 °C
- VOUT-Toleranz von ± 0,85 % bei einem Sperrschichttemperaturbereich von -40 °C bis 125 °C
- Wählbarer FCCM/DCM nur in Einzelphase
- Inbetriebnahme ohne PmBus-Kommunikation durch Pin-Strapping
- Sicherer Start in vorgespanntem Ausgang
- 0,5 ms bis 16 ms programmierbare Sanftanlauf
- D-CAP4 - Steuertopologie mit schneller Einschwingverhalten, die alle keramischen Ausgangskondensatoren unterstützt
- Programmierbare interne Schleifenkompensation
- Wählbare Zyklus-für-Zyklus-Senkstrombegrenzung
- Open-Drain-Power-Good-Ausgang
Applikationen
- POLs für Server und Cloud-Computing
- Hardwarebeschleuniger
- Netzwerk-Schnittstellenkarte (NIC)
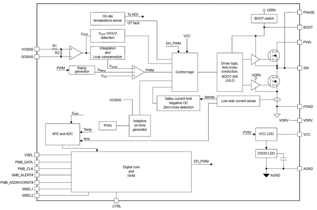
Blockdiagramm, wenn externes Feedback ausgewählt ist
Schaltschema
Veröffentlichungsdatum: 2025-09-23
| Aktualisiert: 2025-10-29
