Texas Instruments TPS2HB16-Q1 Zweikanal-High-Side-Smart-Schalter
Texas Instruments TPS2HB16-Q1 Zweikanal-High-Side-Smart-Schalter sind für den Einsatz in 12-V-Automotive-Systemen vorgesehen. Diese Schalter enthalten robuste Schutz- und Diagnosefunktionen, um den Schutz des Ausgangsanschlusses während schädlichen Ereignissen, wie z. B. Kurzschlüsse in Automotive-Systemen, zu gewährleisten. Diese TPS2HB16-Q1 Schalter schützen gegen Fehler durch eine zuverlässige Strombegrenzung, die von der Ausführung des Bauteils abhängig und von 4,1 A bis 48,5 A einstellbar ist.Die Zweikanal-High-Side-Schalter bieten eine analoge Strommessung mit hoher Genauigkeit, die verbesserte Lastdiagnosen ermöglicht. Durch die Meldung von Laststrom und Temperatur des Bauteils an einen System-MCU ermöglichen diese TPSHB16-Q1 Schalter eine vorausschauende Instandhaltung und Lastdiagnosen, welche die Lebensdauer des Systems verbessern. Die TPS2HB16-Q1 Schalter sind in einem HTSSOP-Gehäuse erhältlich, das einen reduzierten PCB-Footprint ermöglicht. Diese TPS2HB16-Q1 Bauteile sind gemäß AEC-Q100 für Fahrzeuganwendungen zugelassen. Zu den typischen Applikationen gehören FAS-Module, Getriebesteuerelement, Sitzkomfort-Modul, Karosseriesteuermodule und Automotive-Displaymodule.
Merkmale
- Für Fahrzeuganwendungen zugelassen
- Mit den folgenden Ergebnissen AEC-Q100-qualifiziert:
- Bauteiltemperatur Klasse 1
- TA = -40 °C bis 125 °C Betriebstemperaturbereich
- Gerät CDM ESD-Klassifizierungsstufe C4B
- CDM-ESD-Bauteilklassifikation Stufe C4B
- Widersteht einen Lastabwurf von 40 V
- Bauteiltemperatur Klasse 1
- Zweikanal-High-Side-Smart-Schalter mit 16 mΩ RON (TJ = 25 °C)
- Verbessert die Zuverlässigkeit auf Systemebene durch eine einstellbare Strombegrenzung
- Strombegrenzung einstellbar von 4,1 A bis 48,5 A und intern bei 60 A festgelegt
- Bietet Fehleranzeige über SNS-Pin
- Erkennung von offener Last und Kurzschluss-zu-Batterie
- Robuster integrierter Ausgangsschutz
- Integrierter thermischer Schutz
- Schutz gegen Kurzschluss zu Masse/Batterie
- Schutz vor Batterie-Verpolungsereignissen, einschließlich automatischem Einschalten mit der Sperrspannung
- Automatische Unterbrechung bei Batterie-/Masseverlust
- Integrierte Ausgangsklemme zur Entmagnetisierung induktiver Lasten
- Konfigurierbare Fehlerbehandlung
- Analoger Messausgang kann für eine genaue Messung konfiguriert werden
- Laststrom
- Temperatur des Bauteils
Applikationen
- Automotive-Displaymodul
- Erweiterte Fahrerassistenzsystem-Module (FAS)
- Sitzkomfort-Modul
- Getriebe-Steuereinheit
- Steuermodul für Heizung, Lüftung und Klimaanlage (HLK)
- Karosseriesteuermodule
- Weißglühende und LED-Beleuchtung
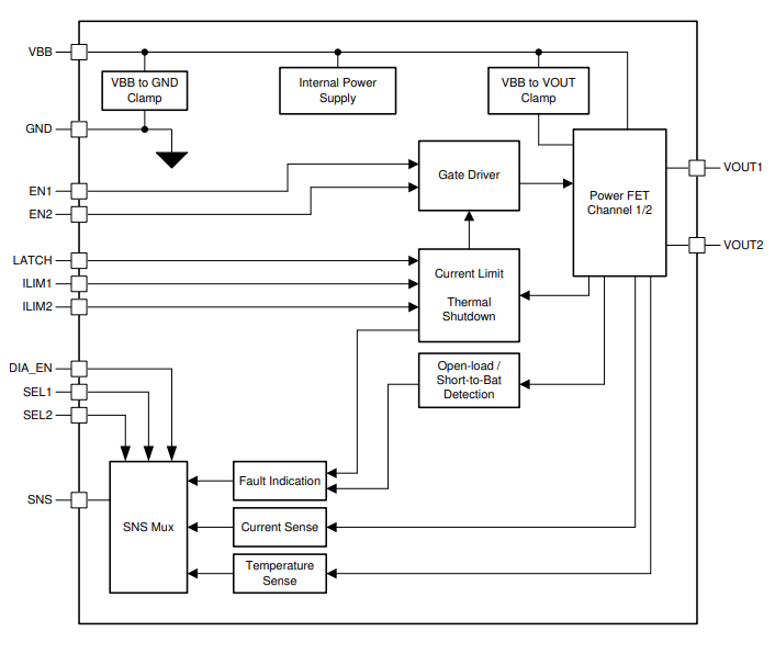
Blockdiagramm
Veröffentlichungsdatum: 2020-01-08
| Aktualisiert: 2025-03-06
