Texas Instruments TPS1HA08-Q1 Smart-High-Side-Schalter
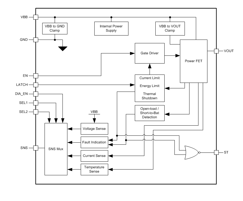
Texas Instruments TPS1HA08-Q1 Smart-High-Side-Schalter bieten robuste Schutz- und Diagnose-Funktionen, die für den Einsatz in 12-V-Automotive-Systemen vorgesehen sind. Der TPS1HA08-Q1 schützt gegen Fehler über eine zuverlässige Strombegrenzung, die je nach Bauteil-Ausführung, sowohl mit 80 A und 20 A verfügbar ist. Die Strombegrenzung kann so konfiguriert werden, dass sie auf ein Überstromereignis entweder mit einem sofortigen Abschalten des Schalters oder mit einer Regelung des Ausgangsstroms am Sollwert reagiert. Die hohe Strombegrenzungsoption ermöglicht die Nutzung in Lasten, die große transiente Ströme benötigen. Die niedrige Strombegrenzungsoption bietet einen verbesserten Schutz für Lasten, die keinen hohen Spitzenstrom erfordern.Darüber hinaus bietet der TPS1HA08-Q1 eine hochpräzise analoge Strommessung, die verbesserte Lastdiagnosen ermöglicht. Durch die Meldung von Laststrom, Temperatur des Bauteils und Versorgungsspannung zu einem System-MCU ermöglicht der TPS1HA08-Q1 eine vorausschauende Instandhaltung und Lastdiagnosen, welche die Lebensdauer des Systems verlängern. Die TPS1HA08-Q1 Bauteile sind für Fahrzeuganwendungen AEC-Q100-qualifiziert.
Merkmale
- Verbessert die Zuverlässigkeit durch wählbare Strombegrenzung
- Strombegrenzungs-Sollwert bei 20 A oder 80 A
- Stromklemmen oder sofortiges Abschalten bei Überstrom
- Robuster integrierter Ausgangsschutz:
- Integrierter thermischer Schutz
- Schutz gegen Kurzschluss zu Masse/Batterie
- Automatisches Einschalten für Batterie-Verpolungsschutz
- Automatische Unterbrechung bei Batterie-/Masseverlust
- Integrierte Ausgangsklemme entmagnetisiert induktive Lasten
- Konfigurierbare Fehlerbehandlung
- Der Analog-Messausgang kann für genaue Messungen der Folgenden konfiguriert werden:
- Laststrom
- Versorgungsspannung
- Temperatur des Bauteils
- Bietet eine FLT-Meldung zurück an den MCU
- Erkennung von offener Last und Kurzschluss-zu-Batterie
- Smart-Einkanal-High-Side-Schalter mit 8 mΩ RON bei TJ = 25 °C
- Für Fahrzeuganwendungen AEC-Q100-qualifiziert:
- Bauteiltemperatur Klasse 1: -40 °C bis +125 °C Umgebungsbetriebstemperaturbereich
- Widersteht einen Lastabwurf von 40 V
Applikationen
- Karosseriesteuerungsmodule
- Weißglühende und LED-Beleuchtung
- Heizelemente:
- Sitzheizungen
- Glühkerzen
- Tankheizung
- Getriebe-Steuereinheit
- Klimakontrolle
- Infotainment-Anzeige
- FAS-Module
Vereinfachter Schaltplan
Blockdiagramm
Veröffentlichungsdatum: 2019-02-20
| Aktualisiert: 2025-03-10
