Texas Instruments TAS5822M Audioverstärker der Klasse D
Texas Instruments TAS5822M Audioverstärker der Klasse D bieten einen hohen Wirkungsgrad und einen digitalen Eingang zur Ansteuerung von Lautsprechern in der Unterhaltungs-, kommerziellen und Industrieelektronik. Diese Bauteile bieten eine leistungsstarke Closed-Loop-Architektur und einen großen Schaltfrequenzbereich, der die Größe der Lösung durch die Verringerung der passiven Bauelemente und die Induktivitätsgröße in den meisten Applikationen reduziert.Die TAS5822M Audioverstärker der Klasse D von TI verfügen über einen integrierten Audioprozessor mit einer Architektur von bis zu 96 kHz, um einen fortschrittlichen Prozessablauf zu unterstützen. Das Bauteil unterstützt die 1SPW-Modulation mit hohem Wirkungsgrad und einstellbarer Schleifenbandbreite der Klasse D für eine gute Audioleistung.
Merkmale
- Flexible Audio-I/O
- Unterstützt Abtastraten von 32, 44,1, 48, 88,2, 96 kHz
- I2S, LJ, RJ, TDM
- SDOUT für Audioüberwachung, Unterkanal oder Echounterdrückung
- PLL-integriert, unterstützt digitale 3-Draht- Audioschnittstelle (kein MCLK erforderlich)
- Unterstützt brückengekoppelte Stereo- oder parallelgeschaltete Mono-Lasten (BTL und PBTL)
- Effizienter Klasse-D-Betrieb mit einem Leistungswirkungsgrad von > 90 %, 90 mΩ RDSon
- Unterstützt mehrere Ausgabekonfigurationen
- 2 × 35 W im 2.0-Modus (8 Ω, 24 V, THD+N = 1 %)
- 2 × 22 W in 2.0-Modus (6 Ω 18 V, THD+N = 1 %)
- Ausgezeichnete Audioleistung
- THD+N ≤ 0,06 % bei 1 W, 1 kHz, PVDD = 24 V
- SRV ≥ 110 dB (A-gewichtet), ICN ≤ 40 μVRMS
- Verbesserte Audioverarbeitung
- Abtastratenwandler
- 96 kHz Prozessorabtastung
- DC-Blockierung, 2 × 14 BQs, THD-Manager
- DPEQ, Lautstärkeregelung
- Eingangsmischer, Ausgangs-Crossbar
- 4. Ordnung 2-Band DRC + AGL
- Übertemperatur-Foldback
- Flexible Stromversorgungskonfigurationen
- PVDD von 4,5 V bis 26,4 V
- DVDD und I/O: 1,8 V oder 3,3 V
- Ausgezeichneter integrierter Selbstschutz
- Überstromfehler (OCE)
- Übertemperaturalarm (OTW)
- Übertemperaturfehler (OTE)
- Unter-/Überspannungssperre (UVLO/OVLO)
- Einfache Systemintegration
- I2C-Software-Steuerung
- Reduzierte Größe der Lösung
- Im Vergleich zu Open-Loop-Bauteile sind weniger passive Bauteile erforderlich
- Ultra-niedrige EMI mit aktueller EMI-Technologie
- Für die meisten Applikationen sind keine großen Induktivitäten erforderlich
Applikationen
- Soundbars, PC-Audio
- Kabellose BLUETOOTH®-Lautsprecher
- DTV-, HDTV-, UHD- und Universal-Monitore
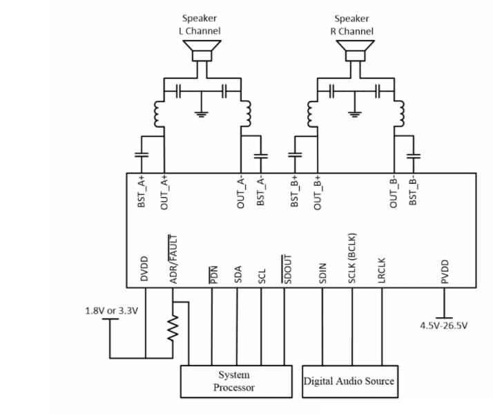
Schaltdiagramm
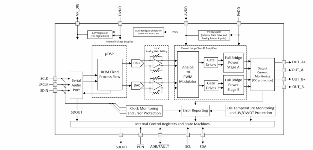
Blockdiagramm
Veröffentlichungsdatum: 2020-12-29
| Aktualisiert: 2024-10-30
