Texas Instruments AWR1243 76-GHz- bis 81-GHz-mmWave-Automotive-MMIC
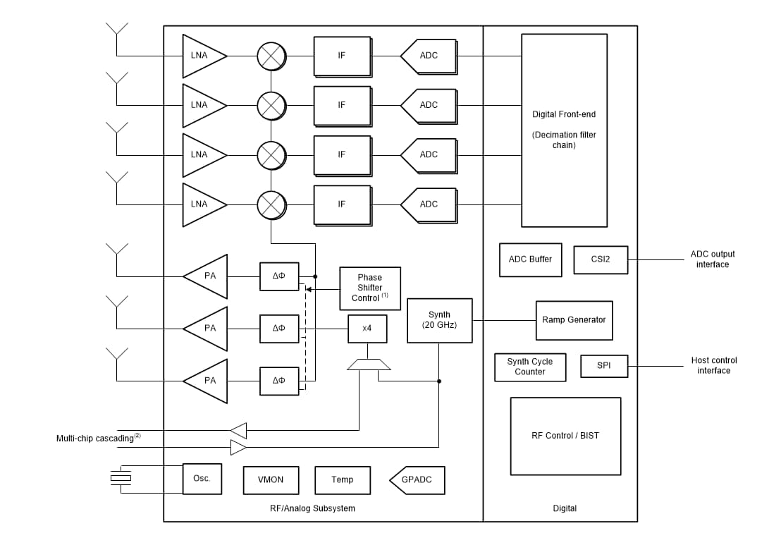
Der Texas Instruments AWR1243 76-GHz- bis 81-GHz-mmWave-Automotive-MMIC ist ein integrierter Einzelchip-FMCW-Transceiver mit extrem kleiner Baugröße. Der AWR1243 MMIC ist eine ideale Lösung für stromsparende, selbstüberwachte, extrem präzise Radarsysteme im Automotive-Bereich. Das Bauteil basiert auf dem stromsparenden 45-nm-RFCMOS-Verfahren von TI, das eine monolithische Implementierung eines 3TX-, 4RX-Systems mit eingebauten PLL- und A2D-Wandlern ermöglicht. Einfache Programmiermodelländerungen ermöglichen die Implementierung von zahlreichen Sensoren (Kurz-, Mittel- und Langstrecken) mit der Möglichkeit einer dynamischen Rekonfiguration für die Implementierung eines Multimodus-Sensors. Der AWR1243 wird als vollständige Plattformlösung bereitgestellt, einschließlich Referenzhardwaredesign, Softwaretreiber, Beispielkonfigurationen, API-Leitfaden und Benutzerdokumentation.Merkmale
- FMCW-Transceiver
- Integrierte PLL, Sender, Empfänger, Basisband und A2D
- Reichweite von 76 GHz bis 81 GHz mit 4-GHz-Bandbreite verfügbar
- Vier Empfangskanäle
- Drei Sendekanäle (zwei Kanäle gleichzeitig für AWR1243 und alle drei Kanäle gleichzeitig für AWR1243P)
- Sehr genaue Chirp-Engine basierend auf Fraktional-N-PLL
- TX-Leistung: 12 dBm
- RX-Rauschfaktor:
- 14 dB (76 bis 77 GHz)
- 15 dB (77 bis 81 GHz)
- Phasenrauschen bei 1 MHz:
- –95 dBc/Hz (76 bis 77 GHz)
- –93 dBc/Hz (77 bis 81 GHz)
- Integrierte Kalibrierung und Selbsttest
- Integrierte Firmware (ROM)
- Selbstkalibrierungssystem über Frequenz und Temperatur
- Host-Schnittstelle
- Steuerschnittstelle mit externem Prozessor über SPI
- Datenschnittstelle mit externem Prozessor über MIPI D-PHY und CSI2 V1.1
- Interrupts für eine Störungsmeldung
- AWR1243 Erweiterte Funktionen
- Integrierte Selbstüberwachung ohne Einbeziehung des Host-Prozessors
- Komplexe Basisband-Architektur
- Möglichkeit der Kaskadierung mehrerer Bauteile für eine größere Anzahl an Kanälen
- Integrierte Interferenzerkennungsfähigkeit
- Leistungsmanagement
- Eingebautes LDO-Netzwerk für verbesserte PSRR
- E/As-Support-Dual-Spannung 3,3 V/1,8 V
- Taktquelle
- Unterstützt einen extern angetriebenen Takt (Quadratisch/Sinus) bei 40 MHz
- Unterstützt eine Quarzverbindung mit Lastkondensator von 40 MHz
- Einfaches Hardware-Design
- 161-Pin-Flip-Chip-BGA-Gehäuse mit einem Rastermaß von 0,65 mm von 10,4 mm × 10,4 mm für eine einfache Montage und ein kostengünstiges PCB-Design
- Kleine Lösungsgröße
- Unterstützt Automotive-Betriebstemperaturbereich
- Für ASIL B ausgelegt
- AEC-Q100-qualifiziert
Applikationen
- Automatisiertes Autobahnfahren
- Automatische Notbremsung
Blockdiagramm
Veröffentlichungsdatum: 2018-12-17
| Aktualisiert: 2023-07-24
