Texas Instruments AFE5828 16-Kanal-Ultraschall-Analog-Frontend
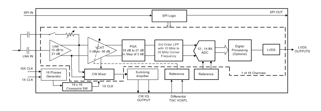
Das Texas Instruments AFE5828 16-Kanal-Ultraschall-Analog-Frontend bietet eine hochintegrierte Lösung für Ultraschallsysteme, die einen geringen Stromverbrauch und eine kleine Gehäusegröße erfordern. Das AFE5828 verfügt über ein Multichip-Modul (MCM) mit zwei Chips, einen spannungsgeregelten Verstärkerchip (VCA) und einen Analog-Digital-Wandler-Chip (ADC). Der VCA-Chip hat 16 Kanäle, die sich mit den 16 Kanälen des ADC-Chip verbinden. Jeder Kanal im VCA-Chip kann in einem der beiden Modi, im Zeitverstärkungskompensations-Modus (TGC) oder im kontinuierlichen Wellenmodus (CW) konfiguriert werden.Der TGA-Modus bietet jedem Kanal einen rauscharmen Verstärker (LNA), einen spannungsgesteuerten Dämpfer (VCAT), einen programmierbaren Verstärker (PGA) und ein Tiefpassfilter (LPF) der dritten Ordnung. Der CW-Modusausgang des LNA geht zu einem stromsparenden passiven Mischer mit 16 auswählbaren Phasenverzögerungen, gefolgt von einem Summierverstärker mit Bandpassfilter, über. Die ADC-Auflösung kann mit einer Wandlungsrate ausgetauscht werden und wird bei Höchstgeschwindigkeiten von 65 MSPS (14-Bit-Auflösung) und 80 MSPS (12-Bit-Auflösung) betrieben. Der ADC ist zur Skalierung seiner Leistung mit einer Abtastrate ausgelegt. Darüber hinaus wird die Ausgangsschnittstelle des ADC über eine Niederspannungs-Differential-Signalierung (LVDS) ausgegeben, die einfach mit kostengünstigen, feldprogrammierbaren Gate-Arrays (FPGAs) verbunden werden kann. Das Bauteil ist mit der AFE5818 und AFE5816 Produktfamilie kompatibel.
Merkmale
- LVDS-Schnittstelle mit einer Geschwindigkeit von bis zu 1 GBit/s
- Kleines Gehäuse: 15 mm × 15 mm NFBGA-289
- 16-Kanal-AFE für Ultraschall-Applikationen:
- Optimierte Signalketten für TGC- und CW-Modi
- Vier programmierbare TGC-Profile
- Rauscharmer Verstärker (LNA) mit:
- Programmierbare Verstärkung: 21 dB, 18 dB und 15 dB
- Lineare Eingangssignalamplitude: 0,37 VPP, 0,5 VPP und 0,71 VPP
- Aktiver Festanschluss
- Spannungsgesteuerter Dämpfer (VCAT):
- Dämpfungsbereich: 0 dB bis 36 dB
- Verstärker mit programmierbarer Verstärkung (PGA):
- 18 dB bis 27 dB in Schritten von 3 dB
- Linearphasiger Tiefpassfilter (LPF) der 3. Ordnung:
- Grenzfrequenz von 10 MHz bis 30 MHz
- ADC-Modi (Leerlauf-Kanal-SNR):
- 14-Bit-65MSPS-Modus: 75 dBFS
- 12-Bit-80MSPS-Modus: 72 dBFS
- Optimiert für Rauschen und Leistung:
- TGC-Modus: 102 mW/K bei 0,8 nV/√Hz, 65 MSPS, 14-Bit-Ausgang
- CW-Modus: mW/K
- Hervorragende Bauteil-zu-Bauteil-Verstärkungsanpassung:
- ±0,4 dB (typisch)
- Schnelle und konsistente Überlast-Erholung
- Kontinuierlicher Wellenpfad (CW) mit:
- Niedrigem Phasenrauschen im eingebauten Zustand von –159 dBc/Hz bei einem Frequenz-Offset von 1 kHz aus einem 2,5MHz-Träger
- Phasenauflösung: λ/16
- Unterstützt 16x und 8x CW-Takte
- 12dB Unterdrückung an den 3. und 5. Oberschwingungen
Applikationen
- Medizinische Ultraschall-Bildverarbeitung
- Zerstörungsfreie Prüfanlagen
- Sonar-bildgebende Systeme
Blockdiagramm
