Microchip Technology PIC16(L)F1847 Flash-MCUs
Microchip PIC16(L)F1847 Flash-MCUs verfügen über einen erweiterten 8-Bit-CPU-Core mittlerer Leistung mit 49 Befehlen, 16 Bedienstapel und einer schaltungsinternen Debug-Funktion. Diese MCUS verfügen über einen internen 32MHz-Präzisions-Oszillatorblock, ein Analog-Digital-Wandler-Modul, einen analogen Komparator und ein Spannungsreferenzmodul sowie einen programmierbaren Code-Schutz und ein Datensignal-Modulatormodul. Das Referenztaktmodul ermöglicht die Übermittlung eines geteilten Taktes zum Taktausgangspin (CLKR) und bietet eine sekundäre interne Taktquelle zum Modulatormodul. Das Oszillator-Modul verfügt über verschiedene Taktquellen und Auswahlfunktionen, die bei gleichzeitiger Steigerung der Leistungsfähigkeit und Reduzierung des Stromverbrauchs in verschiedenen Applikationen verwendet werden können. Die PIC16(L)F1847 Flash-MCUs verfügen über ein Capture-/Compare-/PWM-Peripheriemodul, das Nutzern Planung und Steuerung verschiedener Ereignisse und das Erzeugen von PWM-Signalen ermöglicht. Die Debug- und Programmier-Unterstützung ist über PICkit™3 und MPLAB® ICD 3 verfügbar.Merkmale
- Leistungsstarke RISC-CPU:
- C-Compiler-optimierte RISC-Architektur
- 256 Bytes EEPROM-Daten
- Bis zu 14 kb lineare Programmspeicheradressierung
- Linearer Datenspeicher, der bis zu 1.024 Bytes adressiert
- Interrupt-Fähigkeit mit automatischer Kontextspeicherung
- Direkte, indirekte und relative Adressmodi
- Flexible Oszillatorstruktur:
- Interner 32MHz-Präzisions-Oszillatorblock
- Interner stromsparender 31kHz-Oszillator
- Vier Quarzmodi mit bis zu 32 MHz
- Zweistufiges Oszillator-Einschalten
- Ausfallsicherer Taktwächter
- Spezielle MCU-Merkmale:
- 1,8V bis 5,5 V Betriebsspannung für PIC16F1847
- 1,8 V bis 3,6 V Betriebsspannung für PIC16LF1847
- Selbstprogrammierbar mit Softwaresteuerung
- Power-on-Reset (POR), Power-up-Timer (PWRT) und Oszillator Start-up-Timer (OST)
- Programmierbares Brown-out-Reset (BOR)
- Erweiterte Laufzeitüberwachung (Extended Watchdog Timer (EWDT))
- Programmierbarer Code-Schutz
- In-Circuit-Serial-Programming™ (ICSP™) über zwei Pins
- Schaltungsinterne Debug-Funktion (ICD) über zwei Pins
- Erweiterte Programmierung mit niedriger Spannung
- Stromsparender Schlafmodus
- Extrem stromsparendes Energiemanagement PIC16LF1847 mit XLP:
- Schlafmodus - 20 nA bei 1,8 V
- Watchdog-Timer - 300 nA bei 1,8 V
- Time1-Oszillator - 650 nA bei 32 kHz
- Betriebsstrom: 65 µA/MHz bei 1,8 V
- Analog-Digital-Wandlermodul (ADC)
- Analog-Komparatormodul
- Spannungsreferenzmodul
- 15 I/O-Pins und 1 Nur-Eingangspin
- Vier 8-Bit-Timer (TMR0/TMR2/TMR4/TMR6)
- Ein 16-Bit-Timer (TMR1)
- Ausgedehnte Laufzeitüberwachung (Extended Watchdog Timer (EWDT))
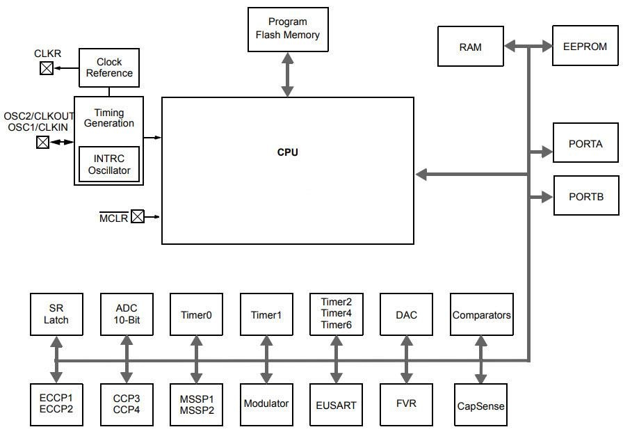
Blockdiagramm PIC16(L)F1847 Flash-MCUs
Weitere Ressourcen
Veröffentlichungsdatum: 2018-03-29
| Aktualisiert: 2022-10-03
