Microchip Technology MCP1722 Hochspannungs-LDOs
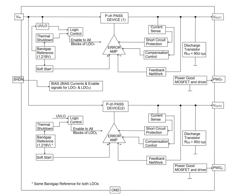
Microchip Technology MCP1722 Hochspannungs-LDOs sind Hochspannungs-low-dropout-Regler (LDO) mit zwei Ausgängen, die zur Versorgung eines µProzessors mit entweder 3,3 V oder 5,0 V ausgelegt sind. Der MCP1722 verfügt über eine Strombelastbarkeit von 100 mA und bietet außerdem einen 10-V-oder 12-V-Motortreiber mit einer Strombelastbarkeit von 50 mA. Diese Spezifikationen ermöglichen es, dass sich die MCP1722 LDOs hervorragend für tragbare Elektrowerkzeuge mit 20-V-Akkus eignen.Die MCP1722 Hochspannungs-LDOs von Microchip enthalten Power-Good-Anzeigen (zwei pins, PWG1 und PWG2) für sowohl Ausgänge als auch Abschaltfunktionen (ein einzelner SHDN-Pin), die das Bauteil in einen niedrigen Stromverbrauchszustand von 4 µA versetzen. Die LDOs sind in zwei 8-Pin-VDFN- oder SOIC-Gehäusen mit freiliegenden Pads für eine verbesserte Wärmeableitung untergebracht. Im Betrieb ist der MCP1722 durch einen Übertemperaturschutz und eine Strom-Foldback-Begrenzung vollständig geschützt.
Merkmale
- AEC-Q100, Klasse 0-qualifiziert, PPAP-fähig
- Eingangsspannungsbereich: 4,5 V bis 55 V
- Unterspannungssperre (UVLO): 2,7 V typisch
- Lastabwurf geschützt: 65 V (ISO 7637-2/2004)
- Erweiterter Sperrschichttemperaturbereich: -40 °C bis +150 °C
- Geregelte Standard-Ausgangsspannungen (VR):
- VOUT1: 10 V oder 12 V
- VOUT2: 3,3 V oder 5,0 V
- Toleranz +/-2% für jeden LDO-Ausgang
- Ausgangsstrombelastbarkeit (typisch):
- VOUT1: 50 mA
- VOUT2: 100 mA
- Open-Drain-Power-Good-Pins für beide LDO-Ausgänge
- Niedriger Ruhestrom: 50 µA
- Niedriger Abschaltstrom: 4 µA
- Stabil mit einem 3,3-µF-Keramik-Ausgangskondensator
- Kurzschlussstrom mit rückläufiger Stromversorgung
- Typischer Übertemperaturschutz: 178 °C
- Hohe PSRR:
- -80 dB bei 100 Hz (typisch)
- In folgenden Gehäusen erhältlich:
- VDFN 8-Pin-Gehäuse von 3 mm x 3 mm mit freiliegendem Pad von 2,40 mm x 1,60 mm
- 8-Pin-SOIC-Gehäuse von 3,90 mm mit freiliegendem Pad von 2,2 mm x 3,0 mm
Applikationen
- Batteriebetriebene Elektrowerkzeuge
- Handstaubsauger
- Einschalt-Vorspannung für PWM-Controller
Typische Applikation
Gehäuseausführungen
Blockdiagramm
Veröffentlichungsdatum: 2021-09-13
| Aktualisiert: 2023-03-02
