Microchip Technology EMC18xx Mehrkanal-Temperatursensoren für niedrige Spannungen

Microchip EMC18xx Mehrkanal-Temperatursensoren für niedrige Spannungen sind 2-Draht(I2C)-Temperatursensoren mit hoher Genauigkeit und widerstandsprogrammierbarer Systemabschaltung. Die EMC18xx Bauelemente bieten Temperaturänderungsratenmessungen mit dazugehörigen Meldungen und ermöglichen dadurch eine zusätzliche Schutzebene zur Verwaltung unterschiedlicher Systemtemperaturen.

Die EMC18xx Temperatursensoren verfügen über eine Widerstandsfehlerbehebung (REC), Betakompensation (zur Unterstützung von CPU-Dioden, die das BJT/Transistormodell erfordern) und eine Temperaturänderungsratenmessung. Zusammen mit der Überwachung von bis zu fünf Temperaturkanälen kombiniert der EMC18xx diese Funktionen für eine robuste Lösung für komplexe Umgebungsüberwachungsapplikationen.

Merkmale

  • Messung der Temperaturrate der Änderungsberechnung mit vorbeugenden Alarmgrenzen
  • Bis zu vier externe Temperaturüberwachungen:
    • 8-Pin-Bauteile: maximale Genauigkeit von ±1 °C (-20 °C bis +105 °C TA, -40 °C bis +125 °C TD)
      • Maximale Genauigkeit von ±1,5 °C (-40 °C bis +125 °C TA, -40 °C bis +125 °C TD)
    • 10-Pin-Bauteile: maximale Genauigkeit von ±1 °C (-20 °C bis +125 °C TA, -40 °C bis +125 °C TD)
      • Maximale Genauigkeit von ±1,5 °C (-40 °C bis +125 °C TA, -40 °C bis +125 °C TD)
    • Interner Temperatursensor:
      • Maximale Genauigkeit von ±1 °C, -40 °C bis +125 °C
    • Interner Temperatursensor:
      • Maximale Genauigkeit von ±1 °C, -40 °C bis +125 °C
  • Temperatursensorauflösung (intern/extern): 0,125 °C
  • Widerstandsprogrammierbare Systemabschalttemperatur
  • Konfigurierbare Alarm-Pins
  • Betriebsspannung: 1,62  bis 3,6 V
  • Temperaturbereich: -40 °C bis +125 °C
  • Weitere Funktionen
    • Automatische Beta-Kompensation
    • Konfigurierbarer Idealitätsfaktor
    • Vergleich der heißesten Diode
    • Widerstandsfehlerbehebung
  • Erhältlich in 8-Pin-WDFN-Gehäusen von 2 x 2 mm und 10-Pin-VDFN-Gehäusen von 2,5 x 2,0 mm

Applikationen

  • Temperaturempfindliche Lagerung
  • Industrieapplikationen
  • IoT für niedrige Systemspannung
  • Tragbare Elektronik
  • Handheld-Spiele
  • Computer
  • Lebensmittellagerung

Systemdiagramm

Applikations-Schaltungsdiagramm - Microchip Technology EMC18xx Mehrkanal-Temperatursensoren für niedrige Spannungen

Blockdiagramme

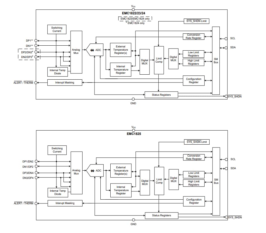
Blockdiagramm - Microchip Technology EMC18xx Mehrkanal-Temperatursensoren für niedrige Spannungen
Veröffentlichungsdatum: 2019-08-13 | Aktualisiert: 2023-06-05