Microchip Technology 24CS512 Serielle 3,4-MHz-I2C-EEPROMs
Microchip Technology 24CS512 Serielle I2C-EEPROMs mit 3,4 MHz bieten einen seriellen EEPROM von 512 KBits, der eine serielle I2C-Schnittstelle (2-Draht) verwendet. Sie verfügen über eine Hochgeschwindigkeitsmodus-Fähigkeit von 3,4 MHz. Die Bauteile sind in 65.536 Byte von jeweils 8 Bits (64 Kbyte) organisiert und für den Einsatz in Unterhaltungselektronik- und Industrieapplikationen optimiert, bei denen ein zuverlässiger und verlässlicher nichtflüchtiger Speicher erforderlich ist. Der 24CS512 ermöglicht bis zu acht Bauteilen einen gemeinsamen I2C-Bus (2-Draht) zu teilen und ist zu einem Betrieb über einen großen Spannungsbereich (1,7 V bis 5,5 V) fähig.Merkmale
- 512-KBit-EEPROM
- Intern als ein 65.536 x 8-Bit-Block organisiert
- Byte- oder Seitenschreibvorgänge von bis zu 128 Byte
- Byte- oder sequentielle Lesevorgänge innerhalb eines Blocks
- Selbstauslösender Schreibzyklus (5 ms max.)
- Hochgeschwindigkeits-I2C-Schnittstelle
- Hochgeschwindigkeits-Modus-Unterstützung für 3,4 MHz
- Industriestandard: 1 MHz, 400 kHz und 100 kHz
- Ausgangssteigungssteuerung zur Beseitigung von Erdungsprellen
- Schmitt-Trigger-Eingänge für Rauschunterdrückung
- Sicherheitsregister
- Vorprogrammierte 128-Bit-Seriennummer
- Benutzerprogrammierbare, verriegelbare 128-Byte-ID-Seite
- Integrierte Fehlerbehebungscode-Logikschaltung (ECC)
- ECC-Status-Bit über das Konfigurationsregister
- I2C-Herstelleridentifikations-Funktionsunterstützung
- Vielseitige Datenschutzoptionen
- Hardware-Schreibschutz-Pin (WP) für vollständigen Array-Datenschutz
- Verbesserter Software-Schreibschutz über das Konfigurationsregister
- Betriebsspannungsbereich von 1,7 V bis 5,5 V
- CMOS-Technologie mit geringem Stromverbrauch
- Schreibstrom: 3,0 mA bei 5,5 V (max.)
- Lesestrom: 1,0 mA bei 5,5 V, 1 MHz (max.)
- Standby-Strom: 1 µA bei 5,5 V
- Hohe Zuverlässigkeit
- Mehr als 1 Million Lösch-/Schreibzyklen
- Integrierte ECC-Logikschaltung für eine erhöhte Zuverlässigkeit
- Datenhaltung: > 200 Jahre
- ESD-Schutz: > 4.000 V
- RoHs-konform
- Temperaturbereiche
- Industrie (I): -40 °C bis +85 °C
Systemkonfiguration mit seriellen EEPROMs
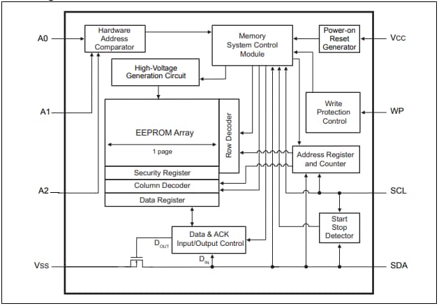
Blockdiagramm
Weitere Ressourcen
- Implementierung der 3,4-MHz-I2C-Bus-Kommunikation mit der seriellen EEPROM-Familie ATSAMD21 und 24CS
- Nutzung des verbesserten Software-Schreibschutzes in seriellen EEPROMs der Serie 24CS
- Empfohlene Verwendung von Microchip I2 C™ Seriellen EEPROM-Bausteinen
- Mehr Flexibilität durch Verwendung mehrerer Footprints für serielle I2C™-EEPROMs
Evaluierungsboard
Videos
Veröffentlichungsdatum: 2021-02-18
| Aktualisiert: 2022-03-11
