Diodes Incorporated AP7330 LDO-Regler
Diodes Inc./Pericom AP7330 LDO-Regler (Low-Dropout-Regler) bieten eine hohe Ausgangsspannungsgenauigkeit, niedrige RDS(ON) und ein geringes Ausgangsrauschen. Diese LDO-Regler basieren auf dem CMOS-Verfahren und gewährleisten einen Ausgangsstrom von 300 mA. Die AP7330 LDO-Regler enthalten eine Spannungsreferenz, einen Fehlerverstärker, einen Strombegrenzungsschalter und einen Freigabe-Eingang für das Ein-/Ausschalten. Diese Regler verfügen über ein SOT25-Gehäuse, das einen kleinen Footprint und ein PCB-Layout mit hoher Dichte ermöglicht. Die AP7330 LDO-Regler eignen sich aufgrund ihres geringen Stromverbrauchs und transienten Reaktionen bestens für tragbare Kommunikationsausrüstungen.Merkmale
- Hohe Ausgangsspannungsgenauigkeit
- Niedriges RDS(ON)
- Hohes PSRR (Versorgungsspannungs-Unterdrückungsverhältnis)
- Geringes Ausgangsrauschen
- Niedrige Eingangsspannung
- Niedriger Ruhestrom
Technische Daten
- Großer Eingangsspannungsbereich von 1,8 V bis 5,5 V
- 1 V bis 4,5 V Ausgangsspannungsbereich
- 300 mA Ausgangsstrom
- ±1 % Ausgangsspannungsgenauigkeit
- 80 dB Welligkeitsunterdrückung bei 1 kHz
- Geringes Ausgangsrauschen von 60 μVrms von 10 Hz bis 100 kHz
- Niedriger Ruhestrom von 45 µA
Applikationen
- Smartphones und Tablets
- HF-Versorgung
- Kameras
- Tragbare Video-Player
- Tragbare Media-Player
- Drahtlose Adapter
- Kabellose Kommunikation
AP7330 Applikationskreislauf
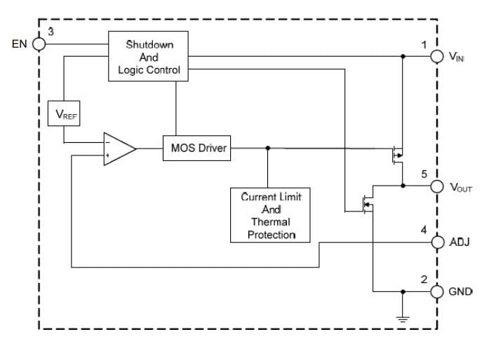
AP7330 Blockdiagramm
Veröffentlichungsdatum: 2018-02-10
| Aktualisiert: 2022-09-18
