Analog Devices Inc. ADSP-21992 Mischsignal-DSP-Controller
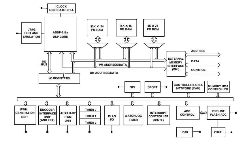
Der Mischsignal-DSP-Controller ADSP-21992 von Analog Devices bietet einen ADSP-2199x-DSP-Core, der sich hervorragend für verschiedene leistungsstarke industrielle Motorsteuerungs- und Signalverarbeitungsapplikationen eignet. Diese idealen Applikationen erfordern die Kombination eines Hochleistungs-DSP und der Mischsignal-Integration von Embedded-Steuerungsperipherien, wie z. B. Analog-Digital-Umwandlung, mit Kommunikationsschnittstellen wie CAN.Der ADSP-21992 von ADI erweitert die Fähigkeiten der ADSP-2199x-Mischsignal-DSP-Produktfamilie weiter, indem er 32-K-Wörter-Programmspeicher und 16-K-Wörter-Datenspeicher-RAM bietet. Darüber hinaus bietet der ADSP-21992 einen On-Chip-CAN-Kommunikationsanschluss, der eine vollständige CAN-2.0-B-Unterstützung mit 16 konfigurierbaren Mailboxen und individuellen Akzeptanzfiltern bietet.
Merkmale
- ADSP-2199x, 16-Bit, Festpunkt-DSP-Kern mit einer dauerhaften Leistung von bis zu 160 MIPS
- 48 K Words-Of-On-Chip-RAM, als 32 K Words-On-Chip-24-Bit-Programm-RAM und 16 K Words-On-Chip-16-Bit-Daten-RAM
- Externe Speicherschnittstelle
- Dedizierter Speicher-DMA-Controller für Daten-/Befehlsübertragung zwischen internem/externem Speicher
- Programmierbare PLL und flexible Takterzeugungsschaltung ermöglichen einen Vollgeschwindigkeitsbetrieb von Eingangstakten mit niedriger Geschwindigkeit
- IEEE JTAG Standard 1149.1 Test-Zugriffsanschluss unterstützt On-Chip-Emulation und System-Debugging
- 14-Bit-8-Kanal-Analog-Digital-Wandlersystem mit einer Abtastrate von bis zu 20 MS/s (bei 160 MHz Kerntaktrate)
- 3-Phasen-16-Bit-Center-basierte PWM-Generierungseinheit mit 12,5-ns-Auflösung bei 160-MHz-Core-Taktrate (CCLK)
- Dedizierte 32-Bit-Encoder-Schnittstelleneinheit mit begleitendem Encoder-Ereignistimer
- Duale 16-Bit-Hilfs-PWM-Ausgänge
- 16 Universal-Flag-I/O-Pins
- 3 programmierbare 32-Bit-Intervall-Timer
- SPI-Kommunikationsanschluss mit Master- oder Slave-Betrieb
- Synchroner serieller Kommunikationsanschluss (SPORT), der zu einer Software-UART-Emulation fähig ist
- Controller-Area-Network-Modul (CAN), vollständig konform mit dem V2.0-B-Standard
- Integrierter Watchdog-Timer
- Dedizierter Peripherie-Interrupt-Controller mit Software-Prioritätssteuerung
- Mehrere Boot-Modi
- Präzisions-1,0-V-Spannungsreferenz
- Integrierter Power-on-Reset-Generator (POR)
- Flexibles Energiemanagement mit wählbaren Abschalt- und Leerlaufmodi
- 2,5 V Interner Betrieb mit 3,3 V I/O
- Betriebstemperaturbereiche von -40 °C bis +85 °C und -40 °C bis +125 °C
Funktionales Blockdiagramm
Veröffentlichungsdatum: 2024-07-30
| Aktualisiert: 2024-08-26
