Analog Devices Inc. ADSP-2156X SHARC+-Einzelcore-Hochleistungs-DSP
Analog Devices Inc. ADSP-2156X SHARC + -Einzelcore-Hochleistungs-DSPs basieren auf dem SHARC +® -Einzelcore, der Teil der SIMD-SHARC-Produktfamilie von digitalen Signalprozessoren (DSPs) ist, der über die Super-Harvard-Architektur von ADI verfügt. Diese 32-Bit-, 40-Bit- und 64-Bit-Fließkomma-Prozessoren sind optimiert für leistungsstarke Audio-/Fließkomma-Anwendungen. Sie verfügen über großen integrierten statischen Random -Access-Speicher (SRAM), mehrere interne Bussysteme, die Eingabe-/Ausgangs-Engpässe (I/O) beseitigen, sowie innovative digitalen Audio-Schnittstellen (DAI).Zusätzliche SHARC+-Core-Funktionen umfassen Cache-Erweiterungen und Seitenkanäle, während gleichzeitig die Befehlssatz-Kompatibilität zu bisherigen SHARC-Produkten beibehalten wird. Die SHARC+ ADSP-21566, ADSP-21567 und ADSP-21569 Prozessoren integrieren einen umfangreichen Satz von branchenführenden Systemperipherien und Speicher. Diese Funktionen machen den ADSP-2156x ideal für Applikationen, die eine Programmierbarkeit ähnlich wie reduzierte Befehlssatz-Computer (RISC), Multimedia-Unterstützung und modernste Signalverarbeitung erfordern, während sie in einem integrierten Gehäuse untergebracht sind. Die Anwendungsbereiche umfassen viele Märkte, einschließlich die Automobilindustrie, professionelle Audio- und industrielle Awendungen, die eine hohe Fließkommaleistung erfordern.
Merkmale
- Verbesserter SHARC+ Hochleistungs-Fließkomma-Kern
- Bis zu 1 GHzmpere
- Bis zu 5 MB (640 KB) Stufe 1 (L1) SRAM-Speicher mit Parität (optionale Konfiguration als Cache)
- Unterstützung für 32-Bit-, 40-Bit- und 64-Bit-Fließkomma
- 32-Bit-Festpunkt
- Byte-, Kurzwort-, Wort und langes Wort verwendet
- Leistungsstarkes DMA-System
- On-Chip-Speicherschutz
- Integrierte Sicherheitsmerkmale
- Geringer Systemstromverbrauch über den gesamten Temperaturbereich im Automobil
- Verbesserte FIR- und IIR-Beschleuniger, die mit bis zu 1 GHz betrieben werden
- Speicher
- Großer On-Chip-SRAM der Stufe 2 (L2) mit ECC-Schutz von bis zu 1 MB
- Eine Level-3 (L3-)Schnittstelle, optimiert für geringe Systemleistung, die eine 16-Bit-Schnittstelle zu DDR3 (unterstützt 1,35 V-fähige DDR3L-Bauteile) SDRAM-Geräten bietet
- Sicherheit und Schutz
- Crypto-Hardwarebeschleuniger
- Schnelles, sicheres Hochfahren mit IP-Schutz
- Gehäuseoptionen
- 17 mm × 17 mm, 400-ball CSP _ BGA, 0,8 mm Rastermaß
- 120-lead LQFP _ EP, 0,4 mm Rastermaß
- RoHS-konform
Applikationen
- Automotive: Audioverstärker, Haupteinheit, ANC/RNC, Rücksitz-Unterhaltung, digitales Cockpit, FAS
- Verbraucher: Lautsprecher, Soundbars, AVRs, Konferenzsysteme, Mischpulte, Mikrofon-Arrays, Kopfhörer
Datenblätter
Videos
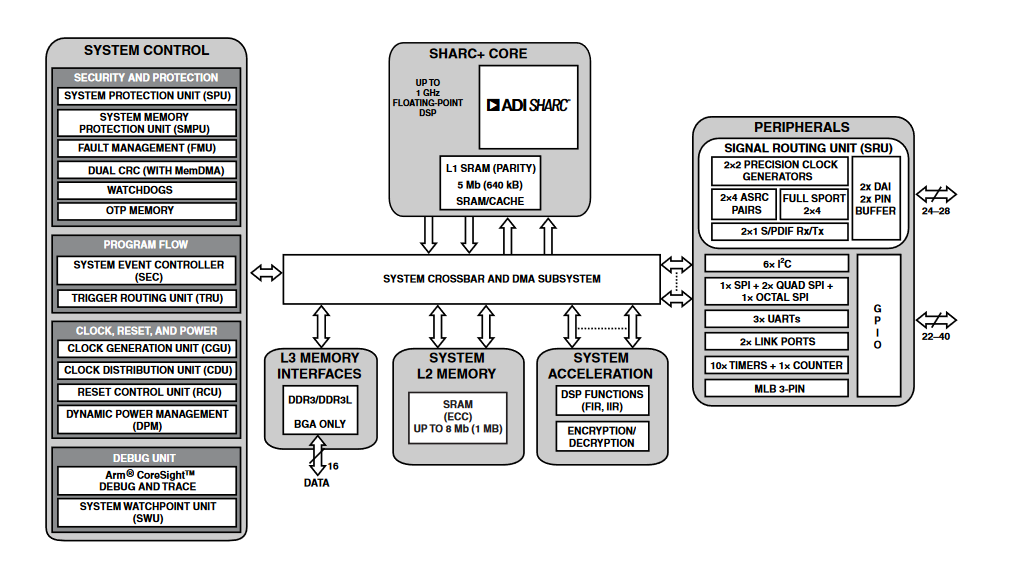
Blockdiagramm
WEITERE RESSOURCEN
Nutzung von On-Chip-FIR- und IIR-Hardware-Beschleunigern
FIR-Filter (Finite Impuls Response) und IIR-Filter (Infinite Impulse Response) sind die am häufigsten verwendeten digitalen Signalverarbeitungs-Algorithmen – insbesondere für Audioverarbeitungsapplikationen. Erfahren Sie mehr über die Verwendung der On-Chip-FIR- und IIR-Hardware-Beschleunigern, um den Core für eine andere Verarbeitung freizugeben.
