Analog Devices Inc. AD4570 AMR-Magnetsensor
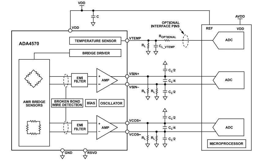
Der anisotrope magnetoresistive (AMR) Magnetsensor AD4570 von Analog Devices Inc. integriert Signalaufbereitungsverstärker und Analog-Digital-Wandler (ADC)-Treiber. Die ADA4570 Sensoren erzeugen zwei Differential-Analogausgänge, welche die Winkelposition des umgebenden Magnetfelds anzeigen. Der ADA4570 besteht aus zwei Chips in einem Gehäuse, einem AMR-Sensor und einem Instrumentenverstärker mit fester Gain. Die AMR-Sensoren liefern verstärkte Kosinus- und Sinus-Differentialausgangssignale in Bezug auf den Winkel. Die AD4570-Sensoren bieten eine berührungslose Winkelmessung, einen hochpräzisen 180°-Winkelsensor und eine Fehlerdiagnose für eine Single-Chip-Lösung.Der AD4570 AMR-Magnetsensor von Analog Devices Inc. ist mit zwei Wheatstone-Brücken ausgestattet, die in einem Winkel von 45° zueinander stehen. Eine vollständige Drehung eines Dipolmagneten erzeugt zwei Perioden auf den sinusförmigen Ausgängen. Der magnetische Winkel (α), der aus den Differentialausgängen von SIN und COS berechnet wird, stellt die physikalische Ausrichtung des Magneten dar. Dieser AMR-Sensor ist nach AEC-Q100 für Automobilanwendungen qualifiziert und in einem 8-poligen SOIC-Gehäuse erhältlich. Zu den typischen Applikationen gehören bürstenlose DC-Motorsteuerung und -positionierung, Betätigersteuerung und -positionierung, berührungslose Winkelmessung und -erkennung und magnetische Winkelpositionsmessung.
Merkmale
- Kontaktlose Winkelmessung
- Hochpräziser 180°-Winkelsensor
- Typischer Winkelfehler von ±0,1°
- Geringes Ausgangsrauschen von 850 μVrms
- Sinus- und Kosinus-Differentialausgänge
- Ratiometrische analoge Spannungsausgänge
- Vernachlässigbare Hysterese
- SAR- oder Σ-Δ-ADC-kompatibel
- Temperaturkompensierte AMR-Brücke
- Industrietemperaturbereich: -40 °C bis +125 °C
- Automotive-Temperaturbereich: -40 °C bis +150 °C
- EMI-resistent
- Fehlerdiagnose
- Betriebsversorgungsspannungsbereich: 2,7 V bis 5,5 V
- Minimaler Phasenfehler von 0,85° bei 30.000 U/min
- AEC-Q100-qualifiziert für Fahrzeuganwendungen
- Einzel-Chip-Lösung
- In einem 8-Pin-SOIC-Gehäuse erhältlich
Applikationen
- Absolute Positionsmessung (linear und Winkel)
- Bürstenlose DC-Motorsteuerung und -positionierung
- Betätigersteuerung und -positionierung
- Kontaktlose Winkelmessung und Erkennung
- Magnetische Winkelpositionsmessung
Blockdiagramm
Typische Applikations-Schaltung
Leistungsdiagramm
Weitere Ressourcen
Warum sind AMR-Sensoren eine hervorragende Option für hochpräzise Positionsmessungen?
