Allegro MicroSystems ACS773 200kHz Automotive Current Sensor ICs

Allegro MicroSystems ACS773 200kHz Automotive Galvanically Isolated Current Sensor ICs offer a wide current sensing range (50A to 400A) and very low power loss in a proprietary CB package. The ACS773 achieves high performance with an accuracy of ±2.1% over the lifetime of the IC from room to hot temperature. The 2.5μs response time allows overcurrent fault detection in safety-critical applications while the reinforced galvanic isolation reduces the bill of materials. Furthermore, the ACS773 operates off of a single 3.3V supply.

The Allegro MicroSystems ACS773 200kHz Automotive Current Sensor ICs are designed for automotive applications such as OBC, DC/DC converters and Inverter control, and industrial applications such as motor control load detection and management, and power supplies.

The ACS773 Current Sensor ICs are available in a custom CB package offering a minimal form footprint, lower ICC, and higher accuracy over competing current sensor modules.

Features

  • AEC-Q100 Grade 1 qualified
  • Typical of 2.5μs output response time
  • 3.3V supply operation
  • Ultra-low-power loss of 100μΩ internal conductor resistance
  • Reinforced galvanic isolation allows use in economical, high-side current sensing in high-voltage systems
  • 4800Vrms dielectric strength certified under UL60950-1
  • Industry-leading noise performance with greatly improved bandwidth through proprietary amplifier and filter design techniques
  • Integrated shield greatly reduces capacitive coupling from current conductor to die due to high dV/dt signals, and prevents offset drift in high-side, high-voltage applications
  • Greatly improved total output error through digitally programmed and compensated gain and offset over the full operating temperature range
  • Small package size, with easy mounting capability
  • Monolithic Hall IC for high reliability
  • Output voltage proportional to AC or DC currents
  • Factory-trimmed for accuracy
  • Extremely stable output offset voltage
  • Available in ratiometric and non-ratiometric versions

Applications

  • OBC
  • EV Charging stations
  • Inverters
  • Power supplies
  • Industrial motor control
  • Overcurrent fault protection
  • Any high accuracy current sensing apps requiring >50A (continuous), 2.5μs response time, and high isolation

Typical Application

Application Circuit Diagram - Allegro MicroSystems ACS773 200kHz Automotive Current Sensor ICs

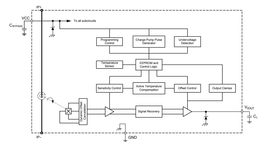
Functional Block Diagram

Block Diagram - Allegro MicroSystems ACS773 200kHz Automotive Current Sensor ICs
Veröffentlichungsdatum: 2022-02-21 | Aktualisiert: 2024-07-30